237-80 - Reference Number 14:2 - O Ring
140-4461 - Reference Number 15 - Hydraulic Hose
140-4468 - Reference Number 16 - Hydraulic Hose
140-4486 - Reference Number 17 - Hose Guide
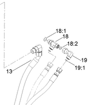
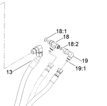
340-109 - Reference Number 18 - Tee Fitting
237-79 - Reference Number 18:1 - O Ring
237-30 - Reference Number 18:2 - O Ring
94-6031 - Reference Number 19 - Elbow
237-30 - Reference Number 19:1 - O Ring
133-9682 - Reference Number 20 - Bolt
AU100416 - Reference Number 21 - Bolt
353-949 - Reference Number 22 - O Ring
340-93 - Reference Number 23 - Tee Adaptor
237-65 - Reference Number 23:1 - O Ring
237-80 - Reference Number 23:2 - O Ring
86-5860 - Reference Number 24 - Nipple
107-3154 - Reference Number 25 - Push Nut